Brodit 856175 – ProClip. Til modeller med en 10,4" skærm. Monter din mobile enhed inden for bekvemt syns- og rækkevidde i bilen! Med ProClip bliver det nemmere og mere sikkert at bruge mobile enheder i køretøjer. ProClip er en monteringsbøjle, som du fastgør på bilens instrumentbræt. På ProClip monterer du valgfrit tilbehør, for eksempel en holder til mobiltelefon eller andet kommunikationsudstyr.
ProClip er bilspecifik, den er unikt udviklet til hver bilmodel og har perfekt pasform. ProClip tilbyder en stabil monteringsplatform og findes med flere placeringsmuligheder til de fleste bilmodeller. Diskret design, der smelter godt ind i interiøret. Trafiksikkert, pænt og bekvemt!
ProClip er nem at montere, du klarer det på et minut! Du klikker ganske enkelt ProClip fast i sprækker i instrumentbrættet, du behøver ikke bore huller eller bruge specialværktøj, og du behøver ikke at skille instrumentbrættet ad. En detaljeret monteringsvejledning medfølger. ProClip har AMPS-huller, som gør monteringen af holdere lettere. Fremstillet af høj kvalitets ABS/Acetal-plast. Farve: Sort. Udviklet og produceret i Sverige.
- Vil du kunne skifte mellem flere holdere på samme ProClip? Se Brodits MultiMoveClip.
- Skal du montere større enheder eller tungere udstyr? Se Brodits forstærkede monteringsbøjler og Piedestalfæster (PM-fæster).
- Brodit ProClip
- Volkswagen Crafter 25-26
- Center montering
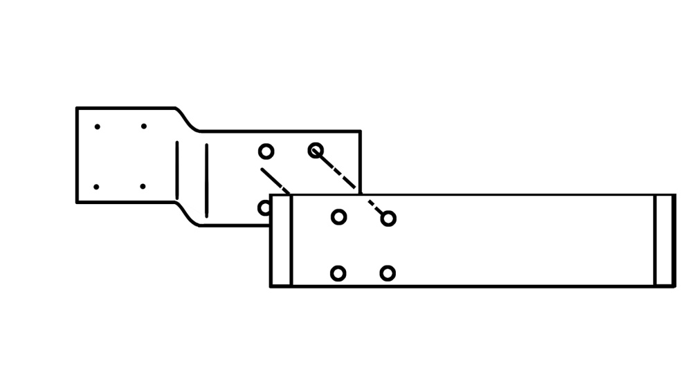
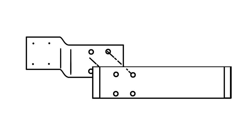
Læs hele vejledningen grundigt og se på billederne, før monteringen påbegyndes. Det er vigtigt at montere ProClip-fæstet først: enhedsholder/udstyr bør monteres efter, at fæstet sidder på plads. Dette fæste består af to dele: et fæste og en monteringsplade.
1. Skru monteringspladen fast på fæstet med de medfølgende skruer. Brug den medfølgende vådserviet til at rengøre området, hvor fæstet skal monteres. Fjern beskyttelsesplastikken på de dobbeltsidede tape-strimler.
2. Hold fæstet over skærmen, så monteringspladen er på førersiden af skærmen.
3. Pres langsomt og hårdt ned på begge sider af fæstet for at hægte det fast på begge sider af skærmen. Træk forsigtigt siderne ud for at lette monteringen. Pres ned, indtil fæstet sidder fast og stabilt på plads.
4. ProClip-fæstet sidder på plads.
Brodit ProClip
Brodits todelte monteringsløsning giver dig en installation, der passer perfekt til dine behov. Den ene del er en enhedsholder, tilpasset til netop din mobiltelefon, tablet eller anden håndholdt enhed. Sammen med denne bruges en ProClip – et monteringsfæste designet specifikt til din bilmodel. ProClip installeres helt uden skruer og uden at skade bilens interiør. Fleksibelt, stabilt og sikkert. Det bliver ikke nemmere!
For at finde holdere til din enhed: Klik her
For at finde fæste til din bil: Klik her
Passer til
Volkswagen Crafter 25-26
Sverige
Norge
Finland












