ProClip er bilspecifik, den er unikt udviklet til hver bilmodel og har perfekt pasform. ProClip tilbyder en stabil monteringsplatform og findes med flere placeringmuligheder for de fleste bilmodeller. Diskret design, der smelter godt ind i interiøret. Trafiksikkert, stilfuldt og bekvemt!
ProClip er nem at montere, du klarer det på et minut! Du klikker ganske enkelt ProClip på sprækker i instrumentbrættet, du behøver ikke bore huller eller bruge specialværktøj, og du behøver ikke skille instrumentbrættet ad. En detaljeret monteringsvejledning følger med. ProClip har AMPS-huller, som letter monteringen af holderen. Fremstillet af høj kvalitets ABS/Acetal-plast. Farve: Sort. Udviklet og produceret i Sverige.
- Vil du kunne skifte mellem flere holdere på samme ProClip? Se Brodits MultiMoveClip.
- Skal du montere større enheder eller tungere udstyr? Se Brodits forstærkede monteringsbøjler og piedestalfæster (PM-fæster).
- Brodit ProClip
- Tesla Model Y 25-
- Tesla Model Y Juniper 25-
- Center mount
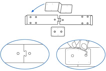
Læs hele vejledningen grundigt igennem og kig på billederne, inden monteringen påbegyndes. Det er vigtigt at montere ProClip-festet først: enhedsholder/udstyr bør monteres efter, at fæstet er på plads. Dette fæste består af fire dele.
1. Saml fæstets dele. Placer skærmpladen på fæstets mønstrede side og fastgør med de medfølgende skruer.
2. Skru monteringspladen fast på fæstets venstre side med de medfølgende skruer. Brug den medfølgende vådserviet til at rengøre området, hvor fæstet skal monteres. Fjern beskyttelsespapiret på den dobbeltklæbende tape.
3. Hold fæstet over skærmen, så monteringspladen er på førersiden, hvis skærmen er på passagersiden. Tryk langsomt og kraftigt ned på fæstets begge sider for at klikke det fast om begge sider af skærmen. Træk forsigtigt siderne ud for at lette monteringen. Tryk ned, indtil fæstet sidder sikkert på plads.
4. ProClip-fæstet er på plads, monteringspladen er på førersiden af skærmen.
Brodit ProClip
Brodits todelte monteringsløsning giver dig en installation, der passer perfekt til dine behov. Den ene del er en enhedsholder, tilpasset til netop din mobiltelefon, tablet eller anden håndholdt enhed. Sammen med denne bruges en ProClip - et monteringsbeslag designet specifikt til din bilmodel. ProClip installeres helt uden skruer og uden at beskadige bilens interiør. Fleksibelt, stabilt og sikkert. Det bliver ikke nemmere!
For at finde en holder til din enhed: Klik her
For at finde beslag til din bil: Klik her
Passar till
Tesla Model Y 25-
Tesla Model Y Juniper 25-
Sverige
Norge
Finland








